1/2
白鹿起诉更美APP侵权 将于7月12日在北京互联网法院开庭
凤凰娱乐2022-05-26 15:06:14

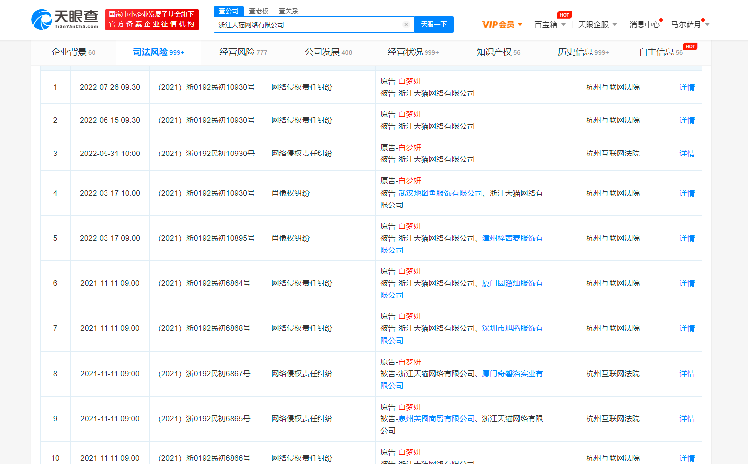
天眼查App显示,近日,白梦妍(白鹿)与更美APP关联公司北京完美创意科技有限公司网络侵权责任纠纷开庭公告公布,原告为白梦妍,审理法院为北京互联网法院,开庭日期为2022年7月12日。

白鹿起诉更美APP侵权 将于7月12日在北京互联网法院开庭

天眼查显示,去年11月以来,白梦妍还起诉多家公司网络侵权,被告包括武汉地图鱼服饰有限公司、厦门圆溜灿服饰有限公司、深圳市旭腾服饰有限公司、厦门奇磐洛实业有限公司等。

白鹿起诉更美APP侵权 将于7月12日在北京互联网法院开庭

白鹿起诉更美APP侵权 将于7月12日在北京互联网法院开庭

知识产权、免责声明以及媒体合作联系
继续了解
知识产权声明

【知识产权声明】

除本司(指上海东方网股份有限公司)另行声明外,本司网页及客户端产品(以下简称“本网”),包括但不限于东方新闻、翱翔、东方头条等,所涉及的任何资料(包括但不限于文字、图标、图片、照片、音频、视频、图表、色彩组合、版面设计、商标、商号、域名等)的知识产权均属本司和资料提供者所有。未经本司书面许可,任何人不得复制、转载、摘编、修改、链接、镜像或以其他任何方式非法使用东方网的上述内容。对于有上述行为者,本司将保留追究其法律责任的权利。

东方网、东方新闻、翱翔,以上均为本司享有权利之合法商标,未经本司书面授权,任何单位或个人不得使用上述商标,或将上述商标用作网站、媒体名称等。

【免责声明】

1、凡本网注明来源“东方网”或“东方新闻”或带有东方网LOGO、水印的所有内容,包括但不限于文字、图片、音频视频,版权均属本司所有,任何媒体、网站或其他任何形式的法律实体和个人未经本司书面授权均不得转载、链接或以其他方式复制传播。与我司签订有关协议或已经获得本司书面授权许可的媒体、网站或其他任何形式的法律实体和个人,应在授权范围内使用,且必须注明来源“东方网”。其目的在于传递更多信息,并不意味着本司赞同其观点或认可其内容的真实性。如果其他媒体、网站或其他任何形式的法律实体和个人使用,必须保留本司注明的“稿件来源”,并自负全部法律责任。如擅自篡改为“稿件来源:东方网”,本司将依法追究责任。

2、擅自使用东方网名义转载不规范来源的信息、版权不明的资讯,或盗用东方网名义发布信息,设立媒体账号等,本司将依法追究其法律责任。

3、鉴于本网发布主体、发布稿件来源广泛,数量较多,如因作者联系方式不详或其他原因未能及时与著作权拥有者取得联系,或著作权人发现本网转载了其拥有著作权的作品时,请主动来函、来电与本司联系,或与本司授权的中国文字著作权协会联系,提供相关证明材料,我方将及时处理。
中国文字著作权协会联系方式:
联系人:赵洪波 唐亚静
地 址:北京西城区珠市口西大街120号太丰惠中大厦1027-1036室
联系电话:010-65978917
邮 箱:wenzhuxie@126.com

4、本网所有声明以及其修改权、更新权及最终解释权均属本司所有。

【媒体合作】

本司为尊重保护著作权,鼓励有益于社会主义精神文明、物质文明建设的作品的创作和传播,促进互联网良性发展,本着平等互惠、资源共享的原则,诚邀各类媒体、网站、单位、个人与本网建立友好的合作关系。
媒体合作、内容转载请联系
联系人:杨老师
联系电话:021-22899781