1/0
杨浦区这些健康服务热线,快收好!
上海杨浦2022-12-12 10:59:23

杨浦区这些健康服务热线

快记好吧!

居家隔离如有任何身体不适

可按需拨打咨询热线问诊

获得就医指导

上海市发热咨询平台热线电话

33672885、33682885

杨浦区内医院热线电话

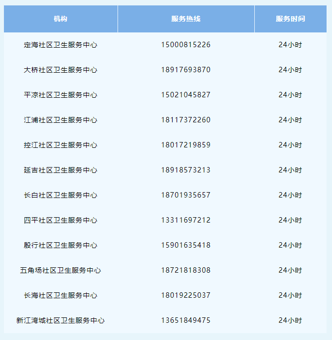
杨浦区各社区卫生服务机构

24小时服务热线

心理健康热线

中国工程院院士、上海交通大学医学院附属瑞金医院院长宁光表示,新冠病毒感染者绝大多数无症状,不需就医,但可能出现的症状有:咽干、咽痛、咳嗽、乏力、发热等。基本上7-10天左右转阴。如果感染,有条件的居家隔离。

哪些情况下遇到了可能是需要到医院去?宁光表示,如果持续出现三天以上的发热并不降温,有气喘、呼吸困难、氧饱和度下降,同时基础病变在原来的基础上加重的,这个时候建议应及时就医,并且联系你的社区医生,可能他会给你更大的帮助。并且按照分级诊疗的方式及时转诊。就诊时注意首先尽量自我保护,不与外人接触,可通过交通工具,严重者救护车,最好自驾到医疗机构。

选稿:蒋昕婕
知识产权、免责声明以及媒体合作联系
继续了解
知识产权声明

【知识产权声明】

除本司(指上海东方网股份有限公司)另行声明外,本司网页及客户端产品(以下简称“本网”),包括但不限于东方新闻、翱翔、东方头条等,所涉及的任何资料(包括但不限于文字、图标、图片、照片、音频、视频、图表、色彩组合、版面设计、商标、商号、域名等)的知识产权均属本司和资料提供者所有。未经本司书面许可,任何人不得复制、转载、摘编、修改、链接、镜像或以其他任何方式非法使用东方网的上述内容。对于有上述行为者,本司将保留追究其法律责任的权利。

东方网、东方新闻、翱翔,以上均为本司享有权利之合法商标,未经本司书面授权,任何单位或个人不得使用上述商标,或将上述商标用作网站、媒体名称等。

【免责声明】

1、凡本网注明来源“东方网”或“东方新闻”或带有东方网LOGO、水印的所有内容,包括但不限于文字、图片、音频视频,版权均属本司所有,任何媒体、网站或其他任何形式的法律实体和个人未经本司书面授权均不得转载、链接或以其他方式复制传播。与我司签订有关协议或已经获得本司书面授权许可的媒体、网站或其他任何形式的法律实体和个人,应在授权范围内使用,且必须注明来源“东方网”。其目的在于传递更多信息,并不意味着本司赞同其观点或认可其内容的真实性。如果其他媒体、网站或其他任何形式的法律实体和个人使用,必须保留本司注明的“稿件来源”,并自负全部法律责任。如擅自篡改为“稿件来源:东方网”,本司将依法追究责任。

2、擅自使用东方网名义转载不规范来源的信息、版权不明的资讯,或盗用东方网名义发布信息,设立媒体账号等,本司将依法追究其法律责任。

3、鉴于本网发布主体、发布稿件来源广泛,数量较多,如因作者联系方式不详或其他原因未能及时与著作权拥有者取得联系,或著作权人发现本网转载了其拥有著作权的作品时,请主动来函、来电与本司联系,或与本司授权的中国文字著作权协会联系,提供相关证明材料,我方将及时处理。
中国文字著作权协会联系方式:
联系人:赵洪波 唐亚静
地 址:北京西城区珠市口西大街120号太丰惠中大厦1027-1036室
联系电话:010-65978917
邮 箱:wenzhuxie@126.com

4、本网所有声明以及其修改权、更新权及最终解释权均属本司所有。

【媒体合作】

本司为尊重保护著作权,鼓励有益于社会主义精神文明、物质文明建设的作品的创作和传播,促进互联网良性发展,本着平等互惠、资源共享的原则,诚邀各类媒体、网站、单位、个人与本网建立友好的合作关系。
媒体合作、内容转载请联系
联系人:杨老师
联系电话:021-22899781