1/4
1分钱踏上西游路?律师谈《黑神话:悟空》IP:布局较早,仍有“漏网之鱼”
东方视频2024-08-25 20:01:36

作为中国文化产业实现工业化过程中里程碑式的作品,《黑神话:悟空》的文化价值与商业价值不言而喻。因此,该游戏的知识产权保护问题也成为业界关注的焦点。

8月25日,广东卓建律师事务所律师、深圳电子竞技行业协会法务委员会委员、中国软件行业协会知识产权保护分会专家委员会委员高记源就该问题接受东方网·纵相新闻采访时表示,《黑神话:悟空》知识产权布局早,在这几年制作过程中一直进行著作权、商标权的登记,但仍有“漏网之鱼”。

游科名下有246件商标,“天命人”已被抢注

高记源介绍,这款游戏的著作权人很清晰,登录游戏后页面下方已经标明为杭州游科互动科技有限公司,该公司是深圳市游科互动科技有限公司的子公司。

经查询,《黑神话:悟空》游戏软件也登记在杭州游科名下,黑神话悟空的模型、宣传资料、美术素材也均登记在杭州游科名下,基本涵盖了游戏作品可能被认定的视听作品(类电作品)、计算机软件、美术作品等,著作权的权属是比较清晰的。

公开信息显示,游科名下有246件商标,其中已经注册的有223件。“黑神话悟空五个字已经基本全类拿下,但是有一些类别如果用不上还是有撤三风险。”高记源解释,“撤三”是指已经注册的商标没有正当理由连续三年不使用而被他人依法提出撤销商标申请,是一种注册商标撤销处理程序,任何单位或者个人均可向商标局递交撤销申请。

另外,游科在制作游戏过程中顺手做出来的一些技术也一并做了登记,比如“游戏科学动捕效率提升系统”“游戏科学动捕协同系统”“游戏科学美术资产导览平台”“游戏科学AI实验系统”“游戏科学交通报销审核平台”等等,“这些在制作游戏中积累的技术是创作出优秀产品的基石。”

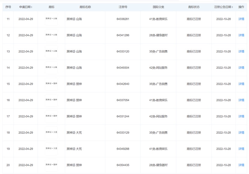
不仅如此,深圳游科还申请了“黑神话·山海”“黑神话哪吒”“黑神话牛魔王”“黑神话小倩”“黑神话姜子牙”等一系列商标,这或许意味着《黑神话:悟空》推出之后,将会有更多的《黑神话》系列作品问世。

图说:深圳游科申请的部分商标信息。 图源:天眼查

不过,该游戏中玩家扮演的角色“天命人”已被抢注。公开信息显示,2023年12月,自然人王某申请注册2枚“天命人”商标,国际分类为广告销售、办公用品。目前,上述商标已成功注册。

图源:天眼查

1分钱踏上西游路?小心设备与个人信息安全

纵相新闻发现,有平台商家以明显低于正版的价格销售该游戏,甚至打出了“1分钱踏上西游路”的租号广告语。此外,一些打着游戏名号的周边、手办等产品也十分热销。

高记源表示,《黑神话:悟空》是个买断制的单机游戏,本身也属于计算机软件作品,以营利为目的,未经著作权人许可复制发行计算机软件,违法所得数额巨大,其行为构成侵犯著作权罪。

图说:一些平台有商家出租游戏账号与游戏周边产品。 图源:网络

账号租借和共享行为侵犯了版权所有者的权益,可能导致开发者收入减少,影响游戏后续开发。同时,这些行为还可能带来安全隐患,例如,通过非官方渠道获得的游戏可能存在恶意软件,威胁用户的设备安全和个人信息安全。

国内游戏平台Wegame的《黑神话:悟空》购买界面中,明确标注了“本游戏仅限18周岁及以上用户使用”。高记源还提到,商家通过账号共享、租号等方式,令未成年人有机会无限制地沉迷于游戏世界。

针对侵权周边,高记源认为虽然游戏科学没有做外观专利申请,“但用著作权已经足以解决几乎全部周边侵权的问题,虽然判赔额可能不算高,但是著作权和商标权都需要承担刑事责任。”

对于记者提供的相关平台商家销售紧箍、金箍棒等产品页面截图,高记源表示该行为是否侵犯了著作权存在争议,需要与公有领域的进行比对,“但是商标权是一打一个准,不过如果只在商品销售标题中引流,实际产品上没有打商标,也是只能以民事侵权诉讼。”

近年来,我国网络游戏产业迅速发展,为社会经济发展注入了强大活力。高记源介绍,网络游戏同时也是知识产权密集型行业,产品包含多种元素,如人物角色、音乐、美术画面、视频动画等直接显现的内容(业内称游戏“皮肤”),以及游戏玩法规则和机制(业内称游戏“骨架”)。

“游戏业存在‘侵权易、维权难’,给行业的健康发展带来阻碍。”他希望可以借《黑神话:悟空》成为现象级话题之际,各方加强研究,对游戏故意重复侵权案件,司法机关运用惩罚性赔偿,惩戒和震慑恶意的知识产权侵权行为。(东方网·纵相新闻 陈丽娜)

作者:陈丽娜
知识产权、免责声明以及媒体合作联系
继续了解
知识产权声明

【知识产权声明】

除本司(指上海东方网股份有限公司)另行声明外,本司网页及客户端产品(以下简称“本网”),包括但不限于东方新闻、翱翔、东方头条等,所涉及的任何资料(包括但不限于文字、图标、图片、照片、音频、视频、图表、色彩组合、版面设计、商标、商号、域名等)的知识产权均属本司和资料提供者所有。未经本司书面许可,任何人不得复制、转载、摘编、修改、链接、镜像或以其他任何方式非法使用东方网的上述内容。对于有上述行为者,本司将保留追究其法律责任的权利。

东方网、东方新闻、翱翔,以上均为本司享有权利之合法商标,未经本司书面授权,任何单位或个人不得使用上述商标,或将上述商标用作网站、媒体名称等。

【免责声明】

1、凡本网注明来源“东方网”或“东方新闻”或带有东方网LOGO、水印的所有内容,包括但不限于文字、图片、音频视频,版权均属本司所有,任何媒体、网站或其他任何形式的法律实体和个人未经本司书面授权均不得转载、链接或以其他方式复制传播。与我司签订有关协议或已经获得本司书面授权许可的媒体、网站或其他任何形式的法律实体和个人,应在授权范围内使用,且必须注明来源“东方网”。其目的在于传递更多信息,并不意味着本司赞同其观点或认可其内容的真实性。如果其他媒体、网站或其他任何形式的法律实体和个人使用,必须保留本司注明的“稿件来源”,并自负全部法律责任。如擅自篡改为“稿件来源:东方网”,本司将依法追究责任。

2、擅自使用东方网名义转载不规范来源的信息、版权不明的资讯,或盗用东方网名义发布信息,设立媒体账号等,本司将依法追究其法律责任。

3、鉴于本网发布主体、发布稿件来源广泛,数量较多,如因作者联系方式不详或其他原因未能及时与著作权拥有者取得联系,或著作权人发现本网转载了其拥有著作权的作品时,请主动来函、来电与本司联系,或与本司授权的中国文字著作权协会联系,提供相关证明材料,我方将及时处理。
中国文字著作权协会联系方式:
联系人:赵洪波 唐亚静
地 址:北京西城区珠市口西大街120号太丰惠中大厦1027-1036室
联系电话:010-65978917
邮 箱:wenzhuxie@126.com

4、本网所有声明以及其修改权、更新权及最终解释权均属本司所有。

【媒体合作】

本司为尊重保护著作权,鼓励有益于社会主义精神文明、物质文明建设的作品的创作和传播,促进互联网良性发展,本着平等互惠、资源共享的原则,诚邀各类媒体、网站、单位、个人与本网建立友好的合作关系。
媒体合作、内容转载请联系
联系人:杨老师
联系电话:021-22899781