246轮竞价、溢价率 70.4%,中海30.65亿元竞得深圳今年首宗宅地
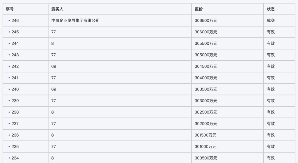
1月16日,深圳迎来2025年首宗涉宅用地出让,位于龙岗区龙城街道的G01045-0200地块吸引了8家房企参与竞价。经过246轮竞价后,由中海企业发展集团有限公司以30.65亿元竞得,成交楼面价29611元/平方米,溢价率 70.4%。


此次出让的地块位于深圳市龙岗区龙城街道,宗地号为G01045-0200,土地用途为二类居住用地,土地面积20838.77平方米,建筑面积103508平方米,挂牌起始价17.99亿元。
按照地块出让条件,宗地按照“价高者得”的原则确定竞得人。宗地内公共配套设施产权归政府,由竞得人建成后无偿移交。其中,幼儿园需在办理商品房预售许可前办理分宗。
据中指研究院监测,该地块共吸引华润、招商、中海、越秀、绿城、深业、建发、南山控股8家房企参与竞价。经过近250轮竞价,最终由中海企业发展集团有限公司以30.65亿元竞得,成交楼面价29611元/平方米,溢价率 70.4%。

中指研究院深圳分院高级分析师孙红梅指出,G01045-0200地块位于龙岗大运中心北侧,地理位置优越。作为2025年深圳土地市场的首发宅地,该宗地体量不大、地价不高。和去年出让的宅地一样,本宗地无此前土地出让的限制措施,不限制建成后的商品房销售价格,也不受“90/70”政策限制,按照“价高者得”的原则确定竞得人。值得注意的是,该宗地所在的大运片区,深铁阅云境项目实现开盘日光,为本宗地的出让增加了利好因素。
据中指研究院数据,2024年深圳商品住宅共成交37972套,成交面积390万平方米,同比上涨22.1%。在持续不断的楼市优化政策推动下,深圳楼市活跃度持续提升,交易量出现阶段性“回稳”。
孙红梅指出,2024年深圳涉宅用地供应大幅缩减,全年共成交5宗涉宅用地,这些地块均由头部央国企摘得,民企拿地意愿整体仍偏弱。2025年首宗宅地的火爆竞拍,有望进一步带动市场预期的修复。