温州民商银行9.9%股权被拍卖:1.92亿元成交,原股东债权人杭叉控股接盘
温州民商银行股份有限公司(下称“民商银行”)9.9%股权易主,背后涉及两位胡润百富榜成员的借款合同纠纷。
据阿里拍卖平台,1月14日,浙江富通科技集团有限公司(下称“浙江富通科技”)持有的民商银行9.9%股权完成拍卖,浙江杭叉控股股份有限公司(下称“杭叉控股”)以最高应价胜出,成交价格1.92亿元,与起拍价持平,较1.98亿元的出资额折价3.03%。

据拍卖项目所示《资产评估报告》,民商银行该笔9.9%股权的市场价值评估结果为1.92亿元,评估报告有效期从2024年6月30日至2025年6月29日。
民商银行2016年度报告显示,浙江富通科技为民商银行的发起股东之一,出资1.98亿元,持股比例9.9%。民商银行2024年三季度报告(下称“三季报”)显示,截至2024年9月末,浙江富通科技持有民商银行1.98亿股股份,持股比例9.9%,与森马集团有限公司、浙江奥康鞋业股份有限公司、浙江力天房地产开发有限公司并列为民商银行第三大股东。三季报显示,浙江富通科技在民商银行的1.98亿股股权被相关法院裁定冻结,冻结期限为三年。

截至2024年9月末,民商银行前十大股东 来源:民商银行三季报
澎湃新闻据民商银行2023年、2024年三季报计算,2024年前三季度,民商银行实现营业收入8.4亿元,同比增长2.14%;实现净利润3.97亿元,同比下降6.67%。截至2024年9月末,民商银行资产总计470.54亿元;不良贷款率0.95%,较2023年末上升0.06个百分点;拨备覆盖率276.64%,较上年末下降14.29个百分点。此前,民商银行2023年末拨备覆盖率已较2022年末下降458.66个百分点。
民商银行官网显示,民商银行于2015年3月26日正式开业,由13家优质民营企业共同发起,其中正泰集团股份有限公司和浙江华峰氨纶股份有限公司两家主发起人分别持股29%和20%,其余股东由森马集团、奥康鞋业等当地行业龙头企业组成,涉及电器、氨纶、鞋服、光纤、复合材料、机械等产业。
浙江富通科技债权人接盘民商银行股权
本次拍卖与杭叉控股、浙江富通科技等的借款合同纠纷案有关。杭州市上城区人民法院执行裁定书显示,在执行杭叉控股、浙江富通科技和富通集团有限公司(下称“富通集团”)借款合同纠纷一案中,被执行人浙江富通科技、富通集团未履行生效法律文书确定的义务。杭州市上城区人民法院裁定冻结了浙江富通科技持有的民商银行9.9%股权,并裁定拍卖该笔股权。这意味着,接盘本次民商银行被拍卖股权的杭叉控股为浙江富通科技债权人。
澎湃新闻注意到,杭叉控股及其控股股东巨星控股集团有限公司(下称“巨星控股”)、浙江富通科技及其控股股东富通集团均为浙江企业,巨星控股、富通集团均多次入围浙江省民营企业100强。2023年,巨星控股实控人仇建平及其妻子王玲玲、富通集团董事长王建沂均以175亿元的财富位列胡润百富榜第313位;2024年,仇建平、王玲玲夫妇以210亿元财富位列胡润百富榜第231位,王建沂则以65亿元财富位列第808位。仇建平、王建沂曾多次共同出席活动。
天眼查显示,浙江富通科技是一家以从事机动车、电子产品和日用产品修理业为主的企业,富通集团持有其99%的股份,实控人为王建沂。富通集团官网显示,富通集团是全球互联网信息基础传输材料光纤通信产业的领军企业,是国家能源电力线缆传输产业的重要推动者。
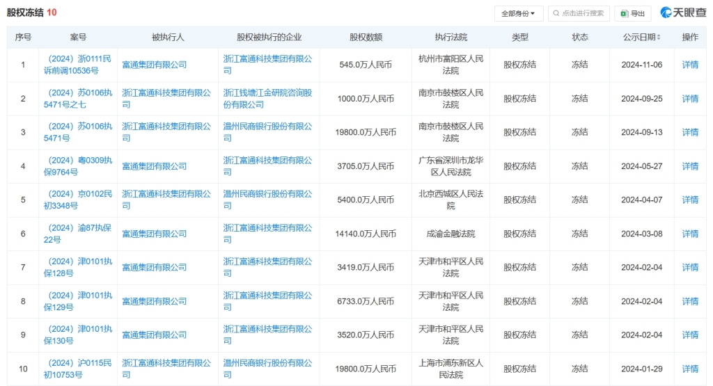
近年来,富通集团经营承压。天眼查显示,富通集团持有的多笔浙江富通科技股权已被冻结,浙江富通科技持有的民商银行股权也已被多次冻结,执行法院包括杭州市富阳区人民法院、南京市鼓楼区人民法院等多地法院,王建沂也已被限制高消费。富通集团2023年第三季度财务报告显示,2023年前三季度,富通集团合并口径下实现营业收入374.57亿元,同比下降7.83%;实现净利润3.18亿元,同比下降27.49%。此外,天津富通信息科技股份有限公司(000836.SZ,ST富通)已于2024年8月摘牌退市。ST富通2023年年度报告披露,公司控股股东为浙江富通科技,实控人为王建沂。

天眼查显示,富通集团及浙江富通科技多笔股权被冻结
巨星控股官网显示,巨星控股成立于1993年,总部位于浙江省杭州市,现有工具、轮胎、叉车、柴油发动机、机器人五大核心产业,是一家全球化制造业企业集团,旗下拥有3家上市公司和多家行业龙头企业。